Kích thước của bồn cầu Inax, Viglacera, TOTO như thế nào?
Kích thước bồn cầu Inax, TOTO Viglacera như thế nào cho mỗi dòng bồn cầu 1 khối, 2 khối, bồn cầu treo tường? Cùng Hải Linh tìm hiểu chi tiết thông qua bài viết sau đây
Kích thước của các loại bồn cầu thông dụng
Kích thước bồn cầu chuẩn phải phù hợp với diện tích phòng tắm, hài hòa với nội thất và không gian. Sau đây mời các gia đình tìm hiểu kích thước các loại bồn cầu sau:
Kích thước bồn cầu 1 khối
Bồn cầu 1 khối bệt và két nước gắn liền với nhau tạo thành một thể thống nhất, rất thuận tiện vệ sinh, lau chùi. Hệ thống xả xi phông, cuốn trôi mọi chất thải trong 3 giây không gây tiếng ồn.
Kích thước của bồn cầu 1 khối tiêu chuẩn như sau:
- Độ dài: 745mm
- Chiều rộng phía trước: 288mm
- Chiều rộng phía sau: 520mm
- Chiều cao bồn cầu: 600mm
- Tâm thoát nước: 80 x 60mm
- Thương hiệu: Toto, Viglacera, Inax.

Kích thước bồn cầu 2 khối
Với bồn cầu 2 khối nhà sản xuất nhà sản xuất thường thiết kế bệt và két nước nối với nhau bởi một khớp nối. Kích thước tiêu chuẩn của bồn cầu 2 khối:
- Chiều dài bồn cầu: 700mm
- Chiều rộng bồn cầu: 368mm
- Chiều cao tổng thể bồn cầu: 777mm
- Chiều cao bệ ngồi có thể với chân đến: 400
Bồn cầu 2 khối thường cao hơn, nhỏ hơn so với bồn cầu 1 khối phù hợp với mọi không gian. Tuy nhiên, khi lắp bồn cầu 2 khối, cần đúng kích thước đặt ống thoát bồn cầu và ống thông hơi, tránh tắc nghẽn sau khi sử dụng.

Kích thước bồn cầu treo tường
Bồn cầu treo tường là dòng sản phẩm thiết kế nổi bật, sang trọng và có tính thẩm mỹ cao, giúp bạn tiết kiệm diện tích không gian của phòng vệ sinh. Bồn cầu treo tường khả năng chịu lực khiến bạn kinh ngạc nên đến 400kg, khả năng bám dính vững chắc, cố định trên tường. Sản phẩm thường được dùng ở chung cư cao cấp, khách sạn hạng sang...
Tuy nhiên khi thiết kế bạn cần phải tính toán kỹ đường nước, đặt két nước âm tường.
Kích thước bồn cầu treo tường chuẩn như sau:
- Chiều dài bồn cầu: 600mm
- Chiều rộng bồn cầu: 360mm
- Chiều cao bồn cầu: 320mm

Kích thước bồn cầu thông minh
Bồn cầu thông minh là sản phẩm cao cấp, hiện đại nhất trên thị trường hiện nay, tích hợp tính năng ưu việt tự vệ sinh, tự xả, chế độ sưởi, phát sáng ban đêm, khử khuẩn…
Kích thước bồn cầu thông minh nhỏ gọn, tinh tế, phù hợp với những công trình khách sạn, villa, biệt thự cao cấp. Kích thước bồn cầu thông minh như sau:
- Chiều rộng: 460 – 500mm
- Chiều dài: 790mm
- Chiều cao: 380mm
- Chiều cao: 610mm
- Tâm thoát bồn cầu: 170mm

Kích thước bồn cầu trẻ em
Bồn cầu trẻ em với kích thước mini dành riêng cho bé yêu của gia đình bạn. Sản phẩm giúp bé tự đi vệ sinh, ba mẹ không cần giúp bé làm công việc nhỏ như xả nước, mở nắp bồn cầu…
Kích thước của bồn cầu trẻ em rất nhỏ xinh, gọn gàng thuận tiện khi bé sử dụng:
- Chiều rộng: 315mm
- Chiều dài: 520mm
- Chiều cao: 650mm
- Chiều cao: 310mm
>>>Lưu ý:
- Vì trẻ em là nhóm đối tượng đặc biệt nên kích thước bồn cầu trẻ em cần tuân thủ các thông số.
- Khi lắp đặt bồn cầu trẻ em cần phải có kệ để bé bước lên, trẻ dễ dàng đứng lên, ngồi xuống khi đi vệ sinh.

Kích thước bồn cầu Inax, TOTO, Viglacera
Trong làng thiết bị vệ sinh có rất nhiều thương hiệu khác nhau. Sau đây chúng ta sẽ tìm hiểu kích thước bồn cầu của 3 hãng được người Việt Nam ưa chuộng nhất là: Inax, TOTO, Viglacera.
>>> Lưu ý: Kích thước lần lượt là: Chiều dài x chiều cao x chiều rộng
Kích thước bồn cầu Inax
Inax là thương hiệu thiết bị vệ sinh rất được ưa chuộng tại Việt Nam, kích thước, mẫu mã vô cùng đa dạng. Tìm hiểu kích thước của một số sản phẩm:
- Kích thước bồn cầu thông minh Inax AC-G216VN/bkg: 705 x 375 x 540 mm
- Kích thước bồn cầu 2 khối Inax AC-602VN: 741 x 721 x 398 mm
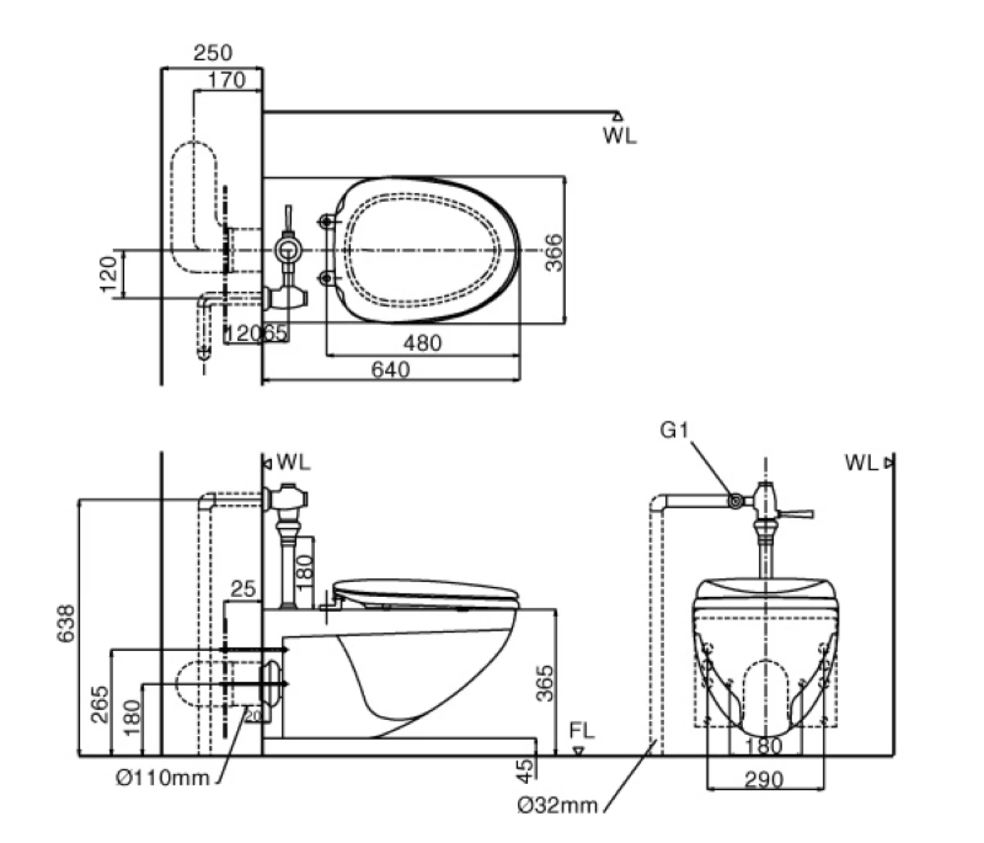
- Kích thước bồn cầu 2 khối INAX AC-22PVN: 640 x 366 x 638 mm
- Kích thước bồn cầu 1 khối Inax AC-1008VRN: 805 x 588 x 400mm

Kích thước bồn cầu 1 khối Inax AC-900VRN: 760 x 380 x 636 mm
Kích thước bồn cầu TOTO
TOTO cũng là một trong những thương hiệu thiết bị vệ sinh có được ưa chuộng tại Việt Nam. TOTO không chú trọng quá nhiều về kiểu dáng, mẫu mã sản phẩm chủ yếu phát triển tính năng. Tham khảo một số kích thước bồn cầu TOTO:
- Kích thước bồn cầu 2 khối Toto CS735DT2: 700D x 420W x 734H mm
- Bồn cầu TOTO 1 khối Eco washer MS884E4: 710D x 420W x 605H mm

Kích thước bồn cầu thông minh C971/TCF9433A: 728L x 391W x 684H mm

Kích thước bồn cầu Viglacera
Tìm hiểu kích thước bồn cầu Viglacera - Thương hiệu thiết bị vệ sinh nội địa Việt Nam. Viglacera rất am hiểu tâm lí của người Việt, mức giá vừa phải nên rất được các gia đình ưa chuộng. Một số sản phẩm tiêu biểu:
- Bồn cầu 2 khối VT34 với kích thước nhỏ gọn: 671 x 358 x 764 mm
- Bồn cầu thông minh Viglacera V93.RW: 690x400x520 mm
- Kích thước bồn cầu 1 khối Viglacera V63: 735 x 735 (Dài x Cao)

Kích thước bồn cầu American Standard
American Standard là thương hiệu thiết bị vệ sinh đến từ Mỹ. Kích thước bồn cầu American Standard rất phù hợp với chiều cao trung bình của người Việt Nam. Tham khảo 1 số mẫu sau
- Kích thước bồn cầu 1 khối American Standard WP-1830: 750x403x765 mm (dài x rộng x cao)
- Kích thước bồn cầu thông minh American Standard WP-5017 : 791 x 420 x 565mm
- Kích thước bồn cầu âm tường American Standard WP-2140: 550x380x415mm
- Kích thước bồn cầu 2 khối American Standard VF-2719: 750 x 368 x 760mm (dài x rộng x cao)

Kinh nghiệm chọn kích thước bồn cầu phù hợp với diện tích phòng tắm
- Chọn kích thước bồn cầu theo diện tích phòng: Trước khi mua bồn cầu cần đo diện tích, xác định vị trí lắp đặt, tính toán kích cỡ phù hợp với không gian nhà vệ sinh. Thông thường bồn cầu 1 khối và bồn cầu 2 khối phù hợp với hầu hết mọi không gian phòng tắm.
- Nếu nhà tắm rộng nên chọn bồn cầu 1 khối hoặc bồn cầu thông minh với tính năng ưu việt, tính thẩm mỹ cao. Mẫu bệt này bệ ngồi lớn nên sử dụng cảm thấy thoải mái.
- Chọn kích thước xí bệt theo giá tiền: Nếu gia đình thu nhập cao nên chọn bồn cầu treo tường, bồn cầu thông minh. Bồn cầu 1 khối hoặc bồn cầu 2 khối sẽ có giá bình dân hơn.
Hy vọng với những chia sẻ về kích thước bồn cầu Inax, TOTO, Viglacera các gia đình sẽ chọn được một sản phẩm phù hợp với kích thước phòng tắm hoặc nhà vệ sinh của gia đình. Liên hệ hotline 1900.599.828 mua bồn cầu chính hãng tại hệ thống Showroom Hải Linh.









